长宁区关于核酸筛查封控期间居民紧急就医措施的告知书 2022-03-31 来源:长宁区人民政府
亲爱的居民朋友们:
根据本市疫情防控工作的统一部署安排,将于4月1日凌晨3时至4月5日凌晨3时,对长宁区域进行封控管理,实施新一轮核酸筛查。为保障我区封控管理期间群众就医需求,现采取如下措施:
1.就诊医院:上海市同仁医院、上海市光华中西医结合医院、长宁区妇幼保健院、长宁区天山中医医院、长宁区精神卫生中心开放急诊及部分临床科室,为区内居民提供基本医疗服务,并为急危重症患者开辟绿色通道。长宁区天山中医医院开放犬伤门诊。长宁区精神卫生中心开放精神科门诊。
2.配药服务:需要配药的居民可联系居委或拨打社区卫生服务中心就医保障热线电话,或由社区志愿者到上海市同仁医院门诊代配药。
3.健康咨询:各社区卫生服务中心负责辖区内居民的健康咨询工作,有就医需求的患者,可及时告知属地居委,联系属地社区卫生服务中心。
4.急危重症转运:呼叫120,或凭居委开具的就诊证明自行驾车前往医院,并做好闭环。告知居委通知社区卫生服务中心与相关医院做好对接。
5.非急危重症:由社区卫生服务中心对接医院预约就诊。
6.血透就诊:患者在原血透医院进行血透。若原血透医院临时关闭,由原血透医院负责安排患者后续血透事宜。患者要提前将血透需求报所在居委会,凭血透病历或其他就诊证明,自行前往相关医院治疗。
感谢您的理解和支持!
长宁区新冠肺炎疫情防控领导小组办公室
2022年3月31日

同仁医院“一门式”服务专区
4月1日-4月5日封控期间
8:00-11:30,13:00-16:30
同仁医院门诊二楼B区25号诊室
报“xxx街道配药志愿者”一站式完成挂号-医生配药-付费
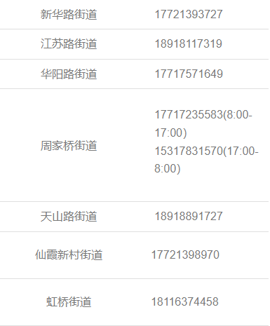
社区卫生服务中心就医保障热线电话


长宁区五家公立医院地址
上海市同仁医院:仙霞路1111号
上海市光华中西医结合医院:新华路540号
长宁区天山中医医院:娄山关路868号
长宁区妇幼保健院:愚园路786号
长宁区精神卫生中心:协和路299号