本周日起,本市273条公交线恢复,途经这些地方 2022-05-20 来源:市交通委
随着全市各区疫情形势逐渐平稳,拟从本月22日起逐步恢复跨区公共交通。现将5月22日至5月31日期间本市地面公交线路恢复运营安排情况通告如下:
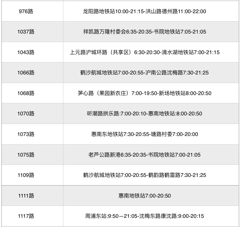
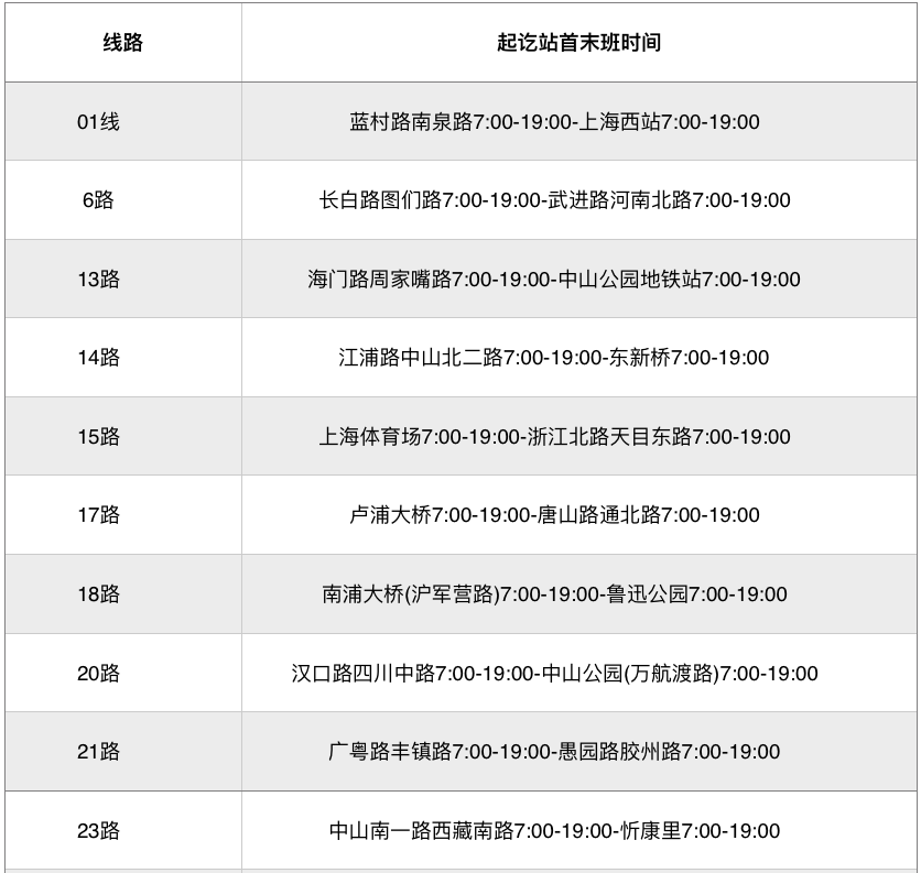
优先恢复273条线路运营,主要服务于全市机场、火车站、三甲医院和各区中心医院。同时结合当前疫情形势,以及对出行需求的预测,优化线路班次间隔。
•连接虹桥、浦东两大机场的始发线路8条,班次间隔原则上不大于90分钟。根据虹桥机场的疫情防控要求,目前区域实行管控措施,虹桥枢纽4路、虹桥枢纽9路和941路,终点站由东交通中心调整至西交通中心。
•连接铁路上海站、上海虹桥站的始发线路19条,班次间隔原则上不大于60分钟。
•途经医院的线路212条,原则上班次间隔不大于40分钟。
•与轨道3、6、10、16号线衔接配套线路34条,原则上班次间隔不大于30分钟,站点末班车时间根据轨道末班车时间延后15分钟。
•部分线路实行挂牌定班服务,将在站点上公布每一班发车时间。
5月22日-5月31日地面公交线路恢复一览
机场线路

注:乘坐机场线的乘客除须出示当日机票(或者铁路客票)、持有48小时内核酸检测阴性证明外,离沪的乘客还须提供24小时内抗原检测阴性证明(如果核酸检测阴性证明在24小时内,则可免除抗原检测)。
火车站线路


配合轨交复运的线路




部分途经主要医院的线路




















温馨提示:乘坐公共交通需规范佩戴好口罩,不戴口罩不得上车,同时持有绿色健康码、48小时核酸阴性证明,体温需是正常的;乘坐公交,上车需扫“场所码”。
乘车市民也可通过公交企业公众号或站点站牌等平台查询相关线路信息。随着疫情形势的进一步明朗和出行需求的逐步恢复,目前已在同步制订这一阶段的增线、增能计划,后续将根据实际情况适时增加地面公交的线路、运能。
分享: